Got a little cat? Dread the litter chores? You couldn’t be the only one! Automated Pet Care Product Inc., made waves at CES 2020 with the self-cleaning Litter-Robot®. Now, a connected device that comes with a “no-scoop promise” and 90-day money-back guarantee, just in case you might not be 100% fully satisfied.
How does the Litter-Robot® work? A rotating
globe-shaped litter chamber automatically separates clumps from the rest of the
litter, depositing them in a carbon-filtered drawer beneath the globe-shaped
litter chamber. The Litter-Robot® then alerts the pet-owner, when the drawer has filled to capacity. With a capacity of approx 12,000 cm3 the carbon-filtered waste drawer might not have to be emptied for several days. End of scooping.
As advertised, the Litter-Robot® sifting process is patented. This invention is recited in the US
utility patent US9433185B2,
titled Automated
litter device and method. The invention arises in response to problems
of the prior art in automated litter boxes. Prior art problems, such as
automated raking systems that get stuck and soiled, or systems with covered
litter chambers that do not offer enough space or light for the pet within. Thus, the Litter-Robot® invention comprises a
sifting process, using a screen to separate waste and clumps from the unused litter, for evacuation from the litter chamber, during rotation, leaving a clean bed of litter
after every use. The litter-Robot® invention also comprisesa litter
chamber that is both well lighted (1) and large enough to accommodate the
comfortable movement of a pet, up to about 12 kgs (approx. 25 lbs). Indeed the
rotation axis of the litter chamber is even adjustable, for the purposes of
increasing the usable space inside the litter chamber.
The invention also comprises an auto-shutoff system that prevents the pet from getting pinched, caught, or injured by any of the moving parts. A weight sensor, located beneath the chamber, is designed to capture the slightest difference in litter mass, ensuring that waste is always removed, and the pet is never in contact with any of the waste. Another sensor, located within the litter drawer beneath the chamber, is designed both to measure the level of waste, and prevent the litter box from rotating, once the drawer is full.
Among many unique aspects of the invention, the 29-page patent recites a support base with a rotating chamber on top; a step enabling
the pet to enter and exit the Litter-Robot®, a step cleaning device to catch litter upon exit, and a lip at the entrance of the chamber, also designed to prevent litter from exiting. The patent also recites an electronics assembly housed in the support
base of the device, and one or more isolated compartments for the mechanical and/or
electronics parts, enabling to set, reset or otherwise drive and control the device.
For example, one or more, liquid or solid-protected, control panels are described, comprising empty and reset buttons. The empty button causes all the litter to empty into the waste-collection drawer. The reset or add litter button causes the weight sensor to reset a baseline for detecting changes in weight, after new litter has been added, while also preventing a cleaning cycle from being initiated. Likewise, the mechanical gear and motor assemblies, driving the litter chamber rotation, are described. A description that includes the requirements to house assemblies in sealed compartments, preventing fumes, vapors and/or moisture from entering, and damaging their function.
For example, one or more, liquid or solid-protected, control panels are described, comprising empty and reset buttons. The empty button causes all the litter to empty into the waste-collection drawer. The reset or add litter button causes the weight sensor to reset a baseline for detecting changes in weight, after new litter has been added, while also preventing a cleaning cycle from being initiated. Likewise, the mechanical gear and motor assemblies, driving the litter chamber rotation, are described. A description that includes the requirements to house assemblies in sealed compartments, preventing fumes, vapors and/or moisture from entering, and damaging their function.
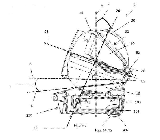
The abstract of this invention is included
below, together with the patent Figure 5, showing a cross-sectional view of the
Litter-Robot®. Specifically, the Figure 5 drawing shows the Litter-Robot®
device 2, with a bonnet 80, covering the litter chamber 20, that rotates on the
axis 28, at an approximately 80-degree angle with the vertical plane 4. The chamber 20 is positioned on
the support base 100, designed with a weight sensor 106, connected to a rear compression member 108, intended to measure the litter mass. The base
100 includes the waste drawer 150, together with a waste receptacle area 156.
A device comprising: a support base and a chamber, located on the support base, having an entry opening so that an animal can enter and exit the chamber; wherein the chamber includes an axis of rotation that forms an angle of about 80 degrees or less with a vertical plane. [Abstract US9433185B2]_____
Note: (1)The Latest Litter-Robot® model is even equipped with an automatic nightlight for elderly pets.
Reference
The Litter-Robot®
The Litter-Robot®

3 comments:
supreme
jordan 12
supreme
off white outlet
curry 8
off white shoes
ggolden goose sneakers off
off white hoodie
off white outlet
fear of god essentials hoodie
Nice articles and your information valuable and good articles thank for the sharing information Cat Litter & Scoopers
Nice articles and your information valuable and good articles thanks for the sharing information cat litter online
Post a Comment